
聯係人:徐經理
電話:139 6412 8213
地址:濟南市長清區大學科技園
網址:www.hbzw45.com
1、防輻射鉛門對X線屏蔽的檢驗方法
測試條件:能量為10MV X線,劑量率為300R / min,加速器機架角度315度.照射野30 x 30 (cm) 2,測量地點:防護門外距地表1.3米處,
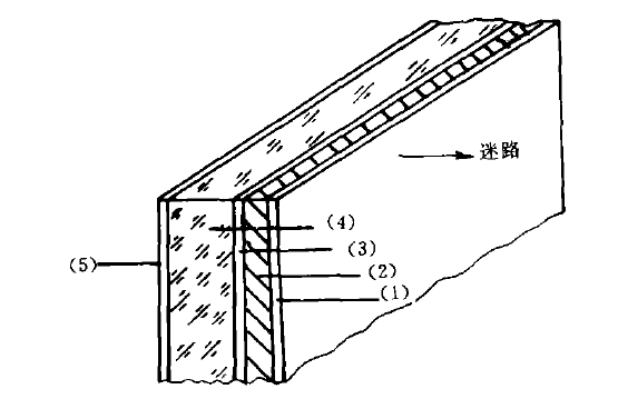
結構分層見下圖:

(1) (5)鋁合金板厚2*5mm,
(2)鉛板厚l0mm,
(3)鋼板厚2.5mm,
(4)石蠟厚一23.5mm,總厚
測量結果:距門10厘米處0.1 mR/h.距門1米處為0.05mR / h.
2、鉛門對中子屏蔽的檢驗方法
測試儀器:采用兩種測量儀器,
FJ-373型n-y輻射儀,單位為n(cm2)一S,不能分辨中子能譜。
芬蘭製2202D型中子劑量儀,單位為毫雷姆/小時(mrcm/h),量程 0.1-10mrem/h.
測量中子通量密度
測量條件:能量10MV X線,劑量率300R / min,機架角度315度,照射野30 x30 (cm) 2,
測量地點:防護門內,外距地表1.3米處,距門表麵1米處.
測量結果: 門內為700n / cm2·s
門外為18n / cm2·s
所以防護門對中子通量密度的衰減率為700/18=38.9.
測量中子劑量當量
測量條件:能量10MV X線.劑量率300R/min,照射野30 x 30 (cm) 2,機架采取各種角度以觀測散射中子的劑量當量的變化.
測量地點:防護門內、外,距地表1.3米,距門表麵10厘米處。結果如下:
機架0° 50° 90° 270° 310° 單位毫雷姆/小時
門內0.35 0.45 0.35 1.05 0.45 mrem/ h
門外<0.1 <0.1 <0.1 <0.1 <0.1 mrem / h
總結,鉛防護門外最大輻射年劑量當量不應超過5rem,相當於平均周劑量當量為100mrem(每周按40小時計算)即每小時2.5mrem.防護門外約10厘米處實際測量小於0.1 mrem / h,顯然符合防護要求.