
聯係人:徐經理
電話:139 6412 8213
地址:濟南市長清區大學科技園
網址:www.hbzw45.com
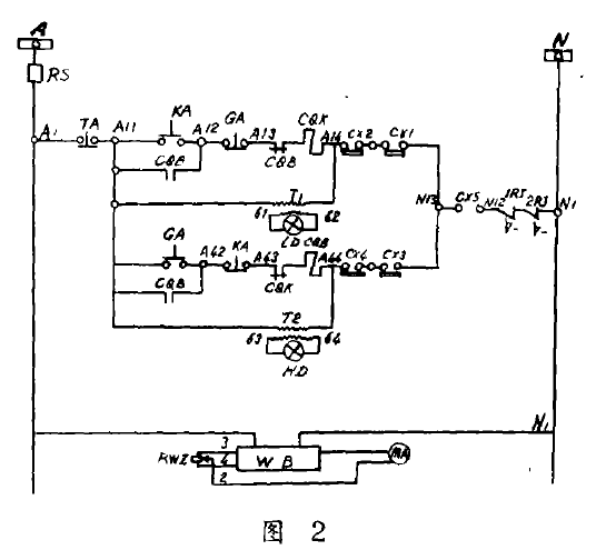
目前電動防輻射鉛門使用方式很典型,不外乎直開直關、可調整、兩地操作等幾種方式。但目前電動鉛門控製結線方式和閥位信號表示方式繁雜,雖然新型電動鉛門要逐漸取代老型的,但還沒有完全統一,這就給運行維護、安裝調試帶來不便,與自動化的發展不相適應。為此,醫院工程施工中,對原設計結線方式作了一些改進。
(1)將一些複雜的結線方式進行簡化.為適合運行需要,醫院電動鉛防護門隻使用四種結線方式,即圖1的直開直關方式,圖2的可調整方式,圖3的兩地操作方式,以及串聯可調方式等四種控製結線方式。這幾種方式既符合現場設備實際,又具有較為統一、簡單可靠,便於接入聯鎖、保護和控製係統中去等特點.運行實踐表明,應用前三種接線方式就可滿足醫院運行需要。

(2)由於可調整電動猫咪香蕉黄色网站上的閥位表裝置,各電動鉛門產品設計用的表頭,變阻器和結線方式等各不相同,難於配套和統一,所以我省多數醫院閥位表大都因此沒有投運.